首页  »  产品展示  »  流量仪表
产品名称:电远传金属转子流量计
添加日期:2012/7/26 17:03:55
点击:
产品型号:LZ
产品特点:
LZ系列金属转子流量计结构简单工作可靠、准确度高、适用范围广。与玻璃转子 流量计相比较能耐较高的压力。LZ系列流量计具有就地指示、电远传、限位开关报警、耐腐蚀、夹套型、阻尼型和防爆等品种。广泛应用于国防、化工、石油、冶金、电力、环保、医药和轻工等部门的液体、气体流量的测量与自动控制。

LZ电远传金属转子流量计的详细资料:

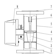
原理结构

由下而上的流体通过直立的测量管时,浮子在压差的作用下上升、浮子上升的高度即

代表流量的大小。并通过浮子中的磁钢与指示器中的磁钢耦合联结传递给指示器,带动指
示器中的指针转动。
  8  指示器                                                              
                                                                                                                          
 
                                                                8  指示器
                                                                7  弹簧卡圈
                                                                6  浮子止挡
                                                                5  管体
                                                                4  测量体
                                                                3  浮子
                                                                2  浮子导向盘
                                                                1  连接法兰
 
1.    测量范围:水(2.5~6000)L/h;
 
空气(0.07~2000)m3/h  (在 0.101025 MPa、20℃)。
2.    准确度等级:  1.5、2.5 级。
3.    量  程   比:  10:1。
4.  工 作 压 力:  DN15~50,4 MPa;  DN80~100,1.6MPa。
5.  介 质 温 度:  -80℃~200℃(内衬 F46 流量计 0℃~80℃)。
6.  液体介质粘度:DN15<5mPa·s;DN25~100<5mPa·s。
7.    连 接 方 式:法兰连接、螺纹连接等; 法兰采用 GB/T9119.8~10 标准。
8.    总  长   度:  DN15~100      250mm。
9.  测量管材质: 普通型 1Cr18Ni9Ti,耐腐型 0Cr18Ni12Mo2Ti,316L、316 衬 F46 等。 如用户有特殊要求可特殊订货。
四、电性能
1.    输出信号:二线制(4~20)mA、三线制(0~10)mA。
2.    线  性  度:1%;
3.    电    源:DC  24(1± −15% )V。
4.    功率消耗:25       mW。
5.    环境温度:-25 ℃~55 ℃。
6.    温度影响:0.5%/10 ℃。
7.    负载电阻:DC      (0~10)mA       (0~1)k?;
(4~20)mA       (0~600)?。
8.    接线电缆:RVVP  3×28/0.15。
9.    防爆等级:ExibⅡ2CT5(证号 GYB03582U)。
10.  配安全栅型号:LB906 型。
11.  电远传变送器:K5WI-I 型或 ESK-I(二线制)。;
12.  接  线  图:
 
 
US-  电源电压;  RA-负载电阻。
图 2  接线图
五、  限位开关报警装置
对 FZ 型指示器可以安装限位开关报警装置
  
1.  技术参数:
a)    供电电源:AC      220(1±10%)V;
b)    功    耗:≤3 W;
c)    工作温度:-25 ℃~60 ℃。
2.  接  线  图:
   
                          指示器                                 控制仪
 
                                                      图 3    接线图
 
3.  限位值的设定:限位开关的位置可以通过改变感应头的位置任意设定。
六、  型号规格
1.  型号
 
 
     
2.  选型
表 1
管道口径结构形式(介质流向)接液材料附件结构
ABCD
DN15Y10下进上出RR00Cr18Ni12Mo2TiF防腐型
DN25Y20横进横出RR11Cr18Ni19TiT夹套型
DN50Y30同侧进出RPPTFE(聚四氟乙烯)Z阻尼型
DN80Y40异侧进出TiTitamium(钛合金)G高温型
DN100Y50底进侧出RL316LY高压型
DN125    B防爆型

 

流量范围

流量范围见表 2
耐腐型通径
DN(mm)
普通型通径
DN(mm)
流  量  范  围最大压力损失
空气m3/h 20℃
0.101325 MPa
水L/h 20℃空气(kPa)水(kPa)
 
 
 
15
 
 
 
15
0.07~0.72.5~257.16.5
0.11~1.14.0~407.26.5
0.18~1.86.0~607.36.6
0.28~2.810~1007.56.6
0.40~4.016~1608.06.8
0.70~7.025~25010.87.2
1.00~1040~400108.6
1.60~1660~6001411.1
 
 
25
 
 
25
3.00~30100~10007.77
4.50~45160~16008.88
7.00~70250~25001210.8
11~110400~40001915.8
 
50
 
50
18~180600~60008.68.1
25~2501000~1000010.411
40~4001600~1600015.617
8080 2500~25000 8.1
 4000~40000 9.5
100100 6000~60000 10
 
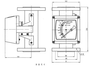
七、  安装尺寸
1.    FZ
               
                                          图 4       安装尺寸
2.    GB/T911.8~10
表 3
通径(DN)工作压力(MPa)DD1D2n×d
15
 
4.0
956546
 
4×14
251158565
5016512599
801.62001601328×18

 

 

 

 

仪表常见故障的维修

 
常见故障及排除方法见表 5:
                                   表 5
 
常见故障产生原因排除方法
1 系统开启指针不动
1  介质中含有杂质,使浮子卡住;
2  系统工作压力太小,致使仪表不正常工作。
1  清除异物;增加磁过滤器;
2  增加系统工作压力。
2 指针冲顶不回复
1 介质中含有杂质,使浮子卡住;
2  仪表选型不合适,选用仪表太小。
1  清除异物;增加磁过滤器;
2  正确选型。
3 指针波动太大,不 能准确读数
1  系统工作压力不稳定;
2 介质存在脉动流或双相流的现象。
3 仪表进出口处的管径变化大而导致压力变化 或压力损失增加。
1  检查自身系统;
2  消除脉动流与双相流。
3  减少压力损失;
4 指针不回零
1  由于仪表的波动而使指针位移;
2  由于仪表的上下撞击,而使测量管内的零件 弯曲变形。
1  旋松指针 处的小 螺丝 将指针 复原至“Rp”位置(未工作状态);
2  建议送回维修或更换。
5 远传不准确
1  环境温度超出工作要求;
2  变送器漂移。
1  按要求使用;
2  适当调节 变送器 中的 电位器 或调节螺丝以恢复正常。
产品相关关键字: 电远传金属转子流量计 智能金属管转子流量计 金属转子流量计带报警 金属转子流量计 江苏

上一个产品:金属管转子流量计
下一个产品:金属浮子流量计价格

苏公网安备 32083102000221号